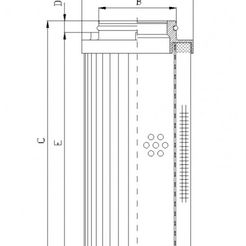
Külső átmérő / Hossz:
91,5 mm
Belső átmérő 1 / Szélesség:
63,2 mm
Magasság 1:
320,5 mm
Magasság 2:
310 mm
Anyag minőség:
C10
Összeesik:
21
Megkerülő szelep:
NO
Áramlási irány:
OUT-IN
Tömítés:
NBR
