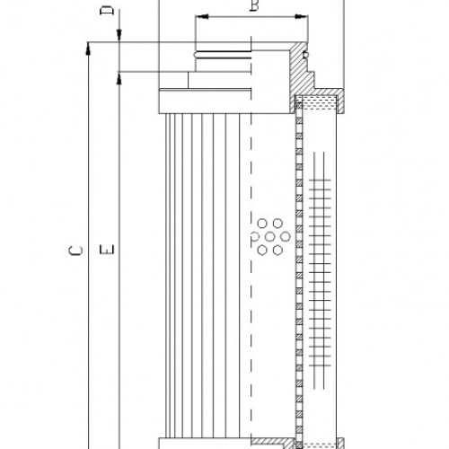
Külső átmérő / Hossz:
67 mm
Belső átmérő 1 / Szélesség:
36 mm
Magasság 1:
246,5 mm
Magasság 2:
234,5 mm
Anyag minőség:
G03
Összeesik:
210
Megkerülő szelep:
NO
Áramlási irány:
OUT-IN
Tömítés:
NBR
