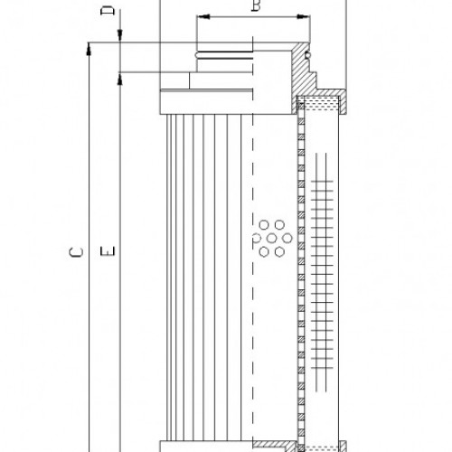
Külső átmérő / Hossz:
53 mm
Belső átmérő 1 / Szélesség:
31,5 mm
Magasság 1:
126 mm
Magasság 2:
115 mm
Anyag minőség:
G06
Összeesik:
210
Megkerülő szelep:
NO
Áramlási irány:
OUT-IN
Tömítés:
NBR
